Hood & Components for 1991 Buick Roadmaster
Vehicle
1991 Buick Roadmaster
Change Vehicle
- Bumper & Components - Front
- Bumper & Components - Rear
- Center Pillar & Rocker
- Cowl
- Door
- Door & Components
- Exterior Trim - Fender
- Exterior Trim - Pillars
- Fender & Components
- Floor
- Frame & Components
- Front Door
- Gate & Hardware
- Glass - Front Door
- Glass - Rear Door
- Glass - Tail Gate
- Glass - Windshield
- Grille & Components
- Hinge Pillar
- Hood & Components
- Inner Components
- Inner Structure
- Instrument Panel
- Interior Trim - Front Door
- Interior Trim - Pillars
- Interior Trim - Quarter Panels
- Interior Trim - Rear Body
- Interior Trim - Rear Door
- Interior Trim - Roof
- Interior Trim - Tail Gate
- Labels
- Lock & Hardware
- Luggage Carrier
- Outside Mirrors
- Quarter Panel & Components
- Rear Body
- Rear Door
- Reveal Moldings
- Roof & Components
- Seats & Track Components
- Stripe Tape
- Tailgate
- Trunk
- Wiper & Washer Components
- ABS Components
- Air Bag Components
- Alternator
- Alternator/Generator & Related Components
- Antenna & Radio
- Battery
- Battery & Related Components
- Bulbs - Chassis
- Corner & Side Marker Lamps
- Cruise Control System
- Daytime Running Lamp Components
- Distributor
- Flashers
- Front Door
- Front Seat Belts
- Front Wipers
- Headlamp Components
- High Mounted Stop Lamp
- Horn
- Ignition Lock
- Ignition System
- Instruments & Gauges
- Keyless Entry Components
- License Lamps
- Lighting - Exterior
- Powertrain Control
- Rear Door
- Rear Seat Belts
- Rear Wipers
- Ride Control Components
- Senders
- Sensors
- Starter
- Switches
- Switches, Solenoids & Actuators
- Tail Lamps
- Tailgate
- Trunk
- Window Defroster
- A/C Accumulator/Receiver Drier
- A/C Clutch & Compressor
- A/C Condenser & Evaporator
- A/C Flow Restrictors
- Automatic Temperature Controls
- Blower Motor & Fan
- Condenser, Compressor & Lines
- Control Modules
- Controls
- Evaporator & Heater Components
- Heater
- Heater Components
- Motors, Core, Case & Related Components
- Relays
- Switches & Sensors
- Temperature Controls & Related Components
- Bumper & Components - Front
- Bumper & Components - Rear
- Center Pillar & Rocker
- Cowl
- Door
- Door & Components
- Exterior Trim - Fender
- Exterior Trim - Pillars
- Fender & Components
- Floor
- Frame & Components
- Front Door
- Gate & Hardware
- Glass - Front Door
- Glass - Rear Door
- Glass - Tail Gate
- Glass - Windshield
- Grille & Components
- Hinge Pillar
- Hood & Components
- Inner Components
- Inner Structure
- Instrument Panel
- Interior Trim - Front Door
- Interior Trim - Pillars
- Interior Trim - Quarter Panels
- Interior Trim - Rear Body
- Interior Trim - Rear Door
- Interior Trim - Roof
- Interior Trim - Tail Gate
- Labels
- Lock & Hardware
- Luggage Carrier
- Outside Mirrors
- Quarter Panel & Components
- Rear Body
- Rear Door
- Reveal Moldings
- Roof & Components
- Seats & Track Components
- Stripe Tape
- Tailgate
- Trunk
- Wiper & Washer Components
- ABS Components
- Air Bag Components
- Alternator
- Alternator/Generator & Related Components
- Antenna & Radio
- Battery
- Battery & Related Components
- Bulbs - Chassis
- Corner & Side Marker Lamps
- Cruise Control System
- Daytime Running Lamp Components
- Distributor
- Flashers
- Front Door
- Front Seat Belts
- Front Wipers
- Headlamp Components
- High Mounted Stop Lamp
- Horn
- Ignition Lock
- Ignition System
- Instruments & Gauges
- Keyless Entry Components
- License Lamps
- Lighting - Exterior
- Powertrain Control
- Rear Door
- Rear Seat Belts
- Rear Wipers
- Ride Control Components
- Senders
- Sensors
- Starter
- Switches
- Switches, Solenoids & Actuators
- Tail Lamps
- Tailgate
- Trunk
- Window Defroster
- A/C Accumulator/Receiver Drier
- A/C Clutch & Compressor
- A/C Condenser & Evaporator
- A/C Flow Restrictors
- Automatic Temperature Controls
- Blower Motor & Fan
- Condenser, Compressor & Lines
- Control Modules
- Controls
- Evaporator & Heater Components
- Heater
- Heater Components
- Motors, Core, Case & Related Components
- Relays
- Switches & Sensors
- Temperature Controls & Related Components
Browse Categories
Select category
- Bumper & Components - Front
- Bumper & Components - Rear
- Center Pillar & Rocker
- Cowl
- Door
- Door & Components
- Exterior Trim - Fender
- Exterior Trim - Pillars
- Fender & Components
- Floor
- Frame & Components
- Front Door
- Gate & Hardware
- Glass - Front Door
- Glass - Rear Door
- Glass - Tail Gate
- Glass - Windshield
- Grille & Components
- Hinge Pillar
- Hood & Components
- Inner Components
- Inner Structure
- Instrument Panel
- Interior Trim - Front Door
- Interior Trim - Pillars
- Interior Trim - Quarter Panels
- Interior Trim - Rear Body
- Interior Trim - Rear Door
- Interior Trim - Roof
- Interior Trim - Tail Gate
- Labels
- Lock & Hardware
- Luggage Carrier
- Outside Mirrors
- Quarter Panel & Components
- Rear Body
- Rear Door
- Reveal Moldings
- Roof & Components
- Seats & Track Components
- Stripe Tape
- Tailgate
- Trunk
- Wiper & Washer Components
- ABS Components
- Air Bag Components
- Alternator
- Alternator/Generator & Related Components
- Antenna & Radio
- Battery
- Battery & Related Components
- Bulbs - Chassis
- Corner & Side Marker Lamps
- Cruise Control System
- Daytime Running Lamp Components
- Distributor
- Flashers
- Front Door
- Front Seat Belts
- Front Wipers
- Headlamp Components
- High Mounted Stop Lamp
- Horn
- Ignition Lock
- Ignition System
- Instruments & Gauges
- Keyless Entry Components
- License Lamps
- Lighting - Exterior
- Powertrain Control
- Rear Door
- Rear Seat Belts
- Rear Wipers
- Ride Control Components
- Senders
- Sensors
- Starter
- Switches
- Switches, Solenoids & Actuators
- Tail Lamps
- Tailgate
- Trunk
- Window Defroster
- A/C Accumulator/Receiver Drier
- A/C Clutch & Compressor
- A/C Condenser & Evaporator
- A/C Flow Restrictors
- Automatic Temperature Controls
- Blower Motor & Fan
- Condenser, Compressor & Lines
- Control Modules
- Controls
- Evaporator & Heater Components
- Heater
- Heater Components
- Motors, Core, Case & Related Components
- Relays
- Switches & Sensors
- Temperature Controls & Related Components
- Bumper & Components - Front
- Bumper & Components - Rear
- Center Pillar & Rocker
- Cowl
- Door
- Door & Components
- Exterior Trim - Fender
- Exterior Trim - Pillars
- Fender & Components
- Floor
- Frame & Components
- Front Door
- Gate & Hardware
- Glass - Front Door
- Glass - Rear Door
- Glass - Tail Gate
- Glass - Windshield
- Grille & Components
- Hinge Pillar
- Hood & Components
- Inner Components
- Inner Structure
- Instrument Panel
- Interior Trim - Front Door
- Interior Trim - Pillars
- Interior Trim - Quarter Panels
- Interior Trim - Rear Body
- Interior Trim - Rear Door
- Interior Trim - Roof
- Interior Trim - Tail Gate
- Labels
- Lock & Hardware
- Luggage Carrier
- Outside Mirrors
- Quarter Panel & Components
- Rear Body
- Rear Door
- Reveal Moldings
- Roof & Components
- Seats & Track Components
- Stripe Tape
- Tailgate
- Trunk
- Wiper & Washer Components
- ABS Components
- Air Bag Components
- Alternator
- Alternator/Generator & Related Components
- Antenna & Radio
- Battery
- Battery & Related Components
- Bulbs - Chassis
- Corner & Side Marker Lamps
- Cruise Control System
- Daytime Running Lamp Components
- Distributor
- Flashers
- Front Door
- Front Seat Belts
- Front Wipers
- Headlamp Components
- High Mounted Stop Lamp
- Horn
- Ignition Lock
- Ignition System
- Instruments & Gauges
- Keyless Entry Components
- License Lamps
- Lighting - Exterior
- Powertrain Control
- Rear Door
- Rear Seat Belts
- Rear Wipers
- Ride Control Components
- Senders
- Sensors
- Starter
- Switches
- Switches, Solenoids & Actuators
- Tail Lamps
- Tailgate
- Trunk
- Window Defroster
- A/C Accumulator/Receiver Drier
- A/C Clutch & Compressor
- A/C Condenser & Evaporator
- A/C Flow Restrictors
- Automatic Temperature Controls
- Blower Motor & Fan
- Condenser, Compressor & Lines
- Control Modules
- Controls
- Evaporator & Heater Components
- Heater
- Heater Components
- Motors, Core, Case & Related Components
- Relays
- Switches & Sensors
- Temperature Controls & Related Components
No.
Part # / Description / Price
Price
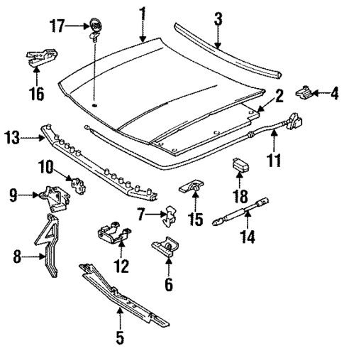
10
Hood Latch
GM
GM Description: All models. Primary. Lower. S-series. Astro, Safari. Blazer/Sonoma/S10. Without denali, Escalade. Allante. Without secondary. Lock. Helps secure your vehicle's hood in a closed position
Helps prevent it from opening or bouncing when driving
This GM Genuine Part is designed, engineered, and tested to rigorous standards and is backed by General Motors
Collision parts are designed to help promote proper and safe repair
MSRP $138.03
$92.30
MSRP $138.03
$92.30
11
Primary Hood Latch Release Cable
GM
GM Description: Buick, chevrolet, olds. Helps operate your vehicle's hood release lever and latch
This GM Genuine Part is designed, engineered, and tested to rigorous standards and is backed by General Motors
Collision parts are designed to help promote proper and safe repair
MSRP $94.97
$63.50
MSRP $94.97
$63.50
12
Hood Secondary Latch Guide
GM
GM Description: Helps align and secure your vehicle's hood latch
This GM Genuine Part is designed, engineered, and tested to rigorous standards and is backed by General Motors
Collision parts are designed to help promote proper and safe repair
18
Related Parts
Part # / Description / Price
Price
